Go to CAPS Home Page






Go to CAPS Home Page
Antique Phonograph News
Canadian Antique Phonograph Society
1982 1983 1984 1985 1986 1987 1988 1989 1990 1991 1992 1993
1994 1995 1996 1997 1998 1999 2000 2001 2002 2003 2004 2005
2006 2007 2008 2009 2010 2011 2012 2013 2014 2015 2016 2017
2018 2019 2020 2021 2022 2023 2024 2025 2026
Winter Spring Summer Autumn
Pioneers in the Evolution of Electrical Sound Recording:
The Guest-Merriman Electrical Recording System, 1918-1922
Fig 1. Guest (right) and Merriman (left)
experimenting, c.1918-1919

It has been an established canon, practically a dogma, that the history of electrical recording begins in 1925, with the system developed by Western Electric in North America. While the Western Electric system would prove to become the best available recording method at the time, by no means was its concept the first of this kind. Prior to the Bell Laboratories research, several attempts had been made to develop an electrical recording process that involved microphones and electrical disc cutting, which was to replace the acoustic or mechanical horn recording technique used since Edison invented it, involving no electricity or amplification.

As a matter of fact, the earliest example of electrical recording of any description was the pioneering work of Lionel Guest and Horace Merriman in Great Britain, invented five whole years before the Western Electric system was offered to Victor and Columbia.

Major Lionel Guest (1880-1935) was a British aristocrat educated at Eton and Cambridge, who joined the British army during the Great War, for which services he was awarded the Military class of O.B.E., while Canadian Captain Horace Merriman (1888-1972) was a B.A.Sc. graduate in Electrical Engineering and later demonstrator at the University of Toronto before he served with the Royal Air Force during the Great War.

Although Guest and Merriman might have met already before the war, while Guest was engaged on financial business in Canada, as aide to the Canadian governor- general, it was much more probable that these two got to know one another while they both served in kindred branches of the imperial military forces during the war, Guest in the Royal Flying Corps and Merriman in the Royal Naval Air Force.

Guest, who was a stock broker professionally, had a passion for astronomy but he had a versatile mind, and inventions of an engineering character always had an attraction for him. After the war, he worked in conjunction with Merriman, who was an electrical engineer, a cooperation that would result in their being coinventors of the very first electrical recording device ever made. [Fig 1] They must have been conducting their experimental electrical sound recordings not later than the autumn of 1918, because already in January 1919 they applied for an ‘Improved Means for Recording Sound’ patent, which amongst the rest states: ‘[...] instead of placing the sound producer in direct proximity to the recording device, as has heretofore been the custom, we provide for the recording taking place at a distance from the sound producer.’ The complete specification was submitted within six months, in July 1919, in which inter alia it is stated: ‘Now, we have ascertained by experiment that excellent results are provided by the employment of a recording appliance of the kind described in the Specification of Patent No.18,765 of 1913’ (which essentially meant that they made use of a vibration motor). [Fig 2]

Fig 2. ‘Improved Means for Recording Sound’
patent sketch, 1919

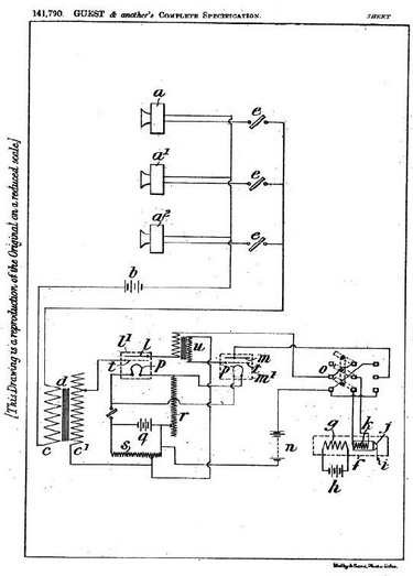
It was not until the following year, however, that they developed a complete electrical recording system. In February 1920 they applied for an ‘Improvements in Sound-Recording Apparatus’ patent, which states: ‘This invention relates to sound-recording apparatus and has for its object to provide improved means for mounting the recording stylus and connecting it to the source of vibration so that it “floats” and follows the slight rise and fall of the moving wax surface on which the record is made.’ The complete specification was submitted in early November 1920, only a few days before the invention was ever to be put in practice on a larger scale. Like patents in general, the contents of the specification is extremely technical in nature, which makes it very difficult to summarise it, except perhaps by quoting from its introductory part: ‘This invention relates to sound-recording apparatus of the kind in which the recording stylus-bar is pivoted to a floating beam, which is itself pivoted to a stationary member of the device in such a manner that the stylus-bar floats and follows the slight rise and fall of the moving wax surface on which the record is made.’ [Fig 3-4]

The actual particulars of the Guest-Merriman recording method can be much better understood on the basis of the one and only known commercial recording session that had ever been carried out with their invention, rather than on the basis of the technical language used in their patents granted. On 11 November 1920, amidst the nationalistic frenzy in France and Britain upon the commemoration of the second anniversary of the armistice, ceremonial burials of the Unknown Soldier/Warrior were simultaneously held in both Paris (Arc de Triomphe) and London (Westminster Abbey). It was upon this occasion, at the funeral ceremony of the British Unknown Warrior in Westminster Abbey, that the Guest-Merriman electrical recording system was first demonstrated and put to practical use, which produced the earliest electrical recordings ever to be commercially issued anywhere in the world.

The ceremony was carried out in the presence of the monarch, emphasising that it was a prime state occasion, taking place right after the unveiling of the Cenotaph a quarter of a mile away in Whitehall an hour earlier (the two ceremonies were understood as belonging together). Both in composition and in scope, it anticipates all subsequent state and royal funeral ceremonies which would take place at the same venue in the next hundred years. Before turning to the particulars of how Guest-Merriman’s pioneering undertaking was done at all, it may not be inopportune to skim through the order of service which was part of the ceremony and thus the subject of their historic recordings. The order of service deserves a detailed analysis from musicological, textual, theological, ideological, and other points of view, which at this point shall not be attempted, but instead a short summary is being offered with the view to providing an idea about its content and extent, before proceeding to the actual recording system.

Beginning at 10 a.m., H.M. Grenadier Guards Band, under the direction of Capt Albert Williams, Mus.Doc., played Arthur Sullivan’s ‘In Memoriam’ Overture, Félix-Alexandre Guilmant’s ‘Marche Funèbre et Chant Séraphique’, then César Franck’s Morceau Symphonique ‘Rédemption’, and Arthur Somervell’s ‘Killed in action’, the slow movement from his Thalassa symphony. At 10.45 a.m., the Choir and Clergy, headed by the Beadle and the Cross of Westminster, moved from the Nave to the High Altar, singing ‘The Supreme Sacrifice’ hymn. The Congregation was asked to join in singing the hymn ‘O God, Our Help in Ages Past’, and then the Congregation knelt as the Precentor said the prayer ‘Our Father’.

Fig. 3. ‘Improvements in Sound-recording Apparatus’
patent sketch, 1920

At 11 o’clock silence was kept for the space of two minutes, not just at the Cathedral but throughout London which came at a standstill (it was a busy Thursday), at which point the Cenotaph was being unveiled by the King a mile away in Whitehall. The Russian ‘Contakion of the Faithful Departed’ was then sung, after which the Dean said several Collects with all devoutly kneeling. Then the Congregation stood while the Choir moved in procession to the North Porch, singing the hymn ‘Brief Life Is Here Our Portion’. By this point the casket with the Unknown Warrior was being brought into the cathedral. Then, in procession from the North Porch to the Grave side in the centre of the Nave, ‘The Order for the Burial of the Dead’ was sung; the seven funeral sentences, verses from various books of the Bible, were taken from the Anglican Book of Common Prayer, for six of which the music was newly composed by William Croft, whereas only the last sentence retained the original composition by Henry Purcell.

From about noon onwards, first the ‘Equale for Trombones’ by Ludwig van Beethoven was performed. Then the 23rd psalm ‘Dominus Regit Me’ was sung, followed by ‘The Lesson’ from Revelation 7: 9-10, and the hymn ‘Lead, Kindly Light’. Then, while the earth from the soil of France was being cast upon the body of the Unknown Warrior, the Dean said the ‘Committals for Believers’, selections from the Book of Common Prayer pertaining to Burial, followed by a verse from Revelation 14: 13, before the Precentor said ‘Our Father’ once again. Then the hymn ‘Abide With Me’ was sung, after which came one more Collect from the Book of Common Prayer, followed by one more other prayer. Finally, Rudyard Kipling’s poem ‘Recessional’ was sung by all standing, and after the ‘Blessing’ and the ‘Réveille’ was performed (the latter as a reference to resurrection), G. J. Miller’s ‘Grand Solemn March’ was played as the King was leaving the church.

As it is evident from the order of service, the ceremony lasted for about three hours, and to a large extent consisted of elements from the Anglican liturgy pertaining to burial. The service was only very loosely built around the Prayer Book funeral service, but at least included all of the Funeral Sentences, with the first six sung in the procession from the North Porch to the centre of the Nave and the last one after the Committal. At any rate, the entire ceremony was distinctly Anglican in content. The musical component on the other hand, in addition to Anglican hymns and several English composers with appropriate war-related themes, also included works by a couple of composers from allied France, as well as one piece originating from imperial Russia. The inclusion of Beethoven in the programme probably had the significance of referencing defeated Germany. A few years later the ceremony would have surely been broadcast on the radio, and decades later on television. However, in the period in which it actually occurred the only possible means at least for an audio presentation of such a ceremony to the wider audiences was by having it recorded all the way through, so somehow Guest and Merriman had been given special permission for such an undertaking. British motion picture companies filmed the transport of the coffin from France, then the parade associated with the unveiling of the Cenotaph, and the rituals outside the cathedral, but apparently none of them was allowed to film the ceremony within the cathedral itself, although some still photos do exist. Apart from the historical importance of the occasion itself, the Guest and Merriman recording enterprise was of immense importance from the perspective of history of recorded sound. So let us now turn to the obvious question of how it was done.

With the view to introducing the new system to the wider audience of laymen who did not necessarily read patent digests, the Guest-Merriman experimental electrical recording process was explained in detail in a diagram published in the Illustrated London News, drawn by their artist W.B. Robinson from material supplied by Guest and Merriman themselves, as well as in the brief descriptive paragraph ‘How music at the Abbey burial of the Unknown Warrior was recorded in a lorry outside the building: a new electrical process.’ [Fig 5] In a nutshell, cutting the wax masters was made by using four carbon microphones placed at four different locations inside Westminster Abbey, and connected with cables running to the recording apparatus (a valve amplifier and a moving coil cutting head), stationed in a remote motor lorry parked in the street outside the eastern end of the Abbey (containing a workshop with the recording mechanism where Guest and Merriman sat amidst heating ovens and cutting lathes). Now let us deconstruct this diagram and go through its components.

Fig 4. ‘Improvements in Sound-recording Apparatus’
patent sketch, 1920

The recording machine was connected by wires with four sound receivers (SR) placed at different points; these were essentially telephone microphones with small horns attached, or rather they came at the narrowest part of the horn where otherwise a diaphragm was placed, as can be noticed by taking a very close look at the diagram. This evidences that acoustic horn recording was a strongly established fact, and even when carbon microphones were introduced they were meant to replace the diaphragm but not to eliminate the horn, at least in these pioneering electrical recordings. Considering the colossal size of the ‘studio’, each of the four microphones was meant to record a different segment of the ceremony pending on the place as to where every ‘artist’ performed. At each of the points was posted a signaller who, by pressing a signal button (SB) on a microphone transformer-board, signalled to the operators in the lorry when to begin and cease recording with that microphone. The location of the four microphones and the respective ‘artists’ was as follows:

SR1 & SB1, near Warrior’s grave in South Aisle: Westminster Abbey Choir;
SR2 & SB2, in the middle of the Nave: Organ played by Sydney Nicholson;
SR3 & SB3, in the middle of the Nave: H.M. Grenadier Guards Band;
SR4 & SB4, at Crouchback Tomb in the Sanctuary: presumably the clergy.

The two sound receivers SR2 & SR3 were fixed to the choir screen in the nave, with Sydney Nicholson at the Organ on the left-hand side and HM Grenadier Guards Band on the right-hand side. The fourth sound receiver SR4 was fixed to the Crouchback Tomb in the sanctuary, with the recording line connecting it to the microphone transformer board (line from sound receiver, transformer, signal line, recording line, signal button). The historic recordings of the ceremony honouring the Unknown Soldier at the Westminster Abbey were not only the very first electrical recordings ever made that were meant to be released commercially, but also they were the first ‘long distance’ recordings of any kind, all previous acoustic recordings being executed at very close proximity between the artist, horn and the cutting lathe. Thanks to their ingenious invention recording now could be done on location, so by using electric cables the Guest-Merriman system was able to detach the microphone from the recording machine by a distance of dozens of meters, and miles if necessary, which was something totally unprecedented.

The interior of the motor lorry workshop comprised recording line, signal line, call bell, heating stove, amplifying set, rotating table for wax discs, oven for heating wax discs, and tool box. This consisted of the usual gramophone turn-table with a revolving wax disc, but, instead of a recording diaphragm operated by sound, it had an electrical device for engraving the wax, which has also never happened before in sound recording. The recording mechanism comprised recording line, recording point, wax disc, turn table, feed screw, travelling bridge, roller, guide, and vibration motor (armature vibrates electrically according to original sound vibrations – this was the only external component of the Guest-Merriman system which they credited to Patent No.18,765 of 1913).

During the elaborate three-hour service, a total of 36 masters on 12” wax plates were cut in the lorry, each lasting for about 4:30 minutes. This indicates that Guest and Merriman recorded the entire ceremony from start to finish with every single audio component of it, may it be musical or spoken or a combination of the two. Had it all been successful, these recordings would have resulted in a triple album consisting of 18 records with cumulative duration of nearly three hours! The outcome was far from satisfactory, however. From the numerous numbers recorded during the ceremony only two (i.e. 5.5%) were considered suitable for issue, but even that is debatable. Or rather, the best two had to make it to the final cut in order to get at least one double-faced record, otherwise the entire enterprise would have been totally in vain. Apparently, both these quasi successful recordings were made towards the very end of the recording session, indicating that during the first couple of hours of the ceremony Guest and Merriman had considerable difficulty in capturing the sound.

Of two recordings deemed satisfactory one was the hymn ‘Abide With Me’, written by Scottish Anglican cleric Henry Francis Lyte in 1847 just before he died, and it is most often sung to the tune ‘Eventide’ composed by the English organist William Henry Monk in 1861. The other recording that was deemed satisfactory was Rudyard Kipling’s poem ‘Recessional’ written in 1897 on the occasion of Queen Victoria’s diamond jubilee. It was sung by all standing, meaning that the poem was not only recited but also there was an accompanying music to which the congregation sang. It seems that on this particular occasion the tune used was ‘Melita’ by J.B. Dykes, a prominent Victorian clergyman and compiler of hymn tunes. Both works were performed by the Westminster Abbey Choir directed by Sir Sydney Nicholson, Westminster Abbey Organist and Master of the Choristers since the previous year, the Congregation, and H.M. Grenadier Guards Band.

Fig 5. Diagram of the Westminster recordings,
The Illustrated London News, 18.12.1920

The double-sided record resulting from the earliest Guest-Merriman produced electrical recording ever to be made was pressed later in November 1920 by the British Columbia Graphophone Co., whose involvement possibly went much deeper than it is generally realised, and it might have been instigated by its forward thinking general manager, Louis Sterling. The centre label on the disc itself reads: ‘Memorial Record made at Westminster Abbey on 11 November 1920 at the funeral ceremony of the burial of the Unknown Soldier by Guest & Merriman electrical process. Published for the Westminster Abbey Fund by Columbia Graphophone Co. Ltd.’ [Fig 6] The record was issued in 1000 copies (rather than 500 copies each of two single-sided records, as it might be construed from a line in the Illustrated London News), which retailed at 7½ shillings, with all profits going to the Westminster Abbey Restoration Fund appeal, and orders were to be sent to the Precentor, Little Cloisters, Westminster. This implies that the Abbey was granted sales rights practically of the entire stock of the record, which is probably why the special permission to record the whole ceremony had been given in the first place. Released in December 1920, and coinciding with the festive season, the total proceeds from the sales of the record would have amounted to £375 (which was worth about £20,000 in today’s money value). If all the copies were sold by the end of that month, it might very well be the case that this record was British Christmas No.1 for that year (the first or one of the earliest in this category), although additional research will be needed in order to find out how the record faired upon its release.

The sound quality of the Guest-Merriman system was not satisfactory, however. The weak link in the recording system was the carbon microphone, which was little more than a telephone mouthpiece. Yet, the bigger drawback might have been the recording head based on the ‘Fessenden Oscillator’, designed as a sonar transducer by Canadian inventor Reginald Fessenden. The significantly poorer sound quality of these electric recordings makes it difficult to differentiate between instruments and singing, so much so that it is hard to discern if only instruments are playing or if there is also singing. It seems as though the sound coming from H.M. Grenadier Guards Band is captured the best, but each of the two released works sound quite like the earliest acoustically recorded cylinders. Even though the new technique revealed bass and treble sounds hitherto unheard on recordings, the end result of these earliest electric recordings proved so less satisfying than the regular acoustically recorded records available at the time, except perhaps that it would have been difficult for the acoustic horn to capture such a large group of people (Organ, Choir, Congregation, Band).

Although the Westminster recordings were of abysmal technical quality, British Columbia officials were sufficiently intrigued to invite Guest and Merriman to undertake experimental recording sessions in their London studio. However, the process was soon judged unsuitable for Columbia’s use, as acoustic recordings of the period produced far superior results, so after evaluation British Columbia decided not to adopt the Guest- Merriman system for continual usage, and the relationship was terminated. The disappointing outcome in Britain triggered Guest and Merriman to acquire patents of their invention in France and Germany, for which purpose applications were made practically simultaneously in both countries in February 1921; a French patent was granted in October 1921, whereas a German patent was granted in August 1922 (both of them are identical to the text of their British patent complete specification of November 1920), but apparently success was found in neither country.

Failure to propel their invention in Europe was the reason why, in October 1921, Guest and Merriman went to North America to try to persuade recording companies there to adopt their electrical recording system, but they were met with a similar lame reaction. In late October 1921, experimental electrical recording sessions were made in American Columbia’s New York studio, during which Gladys Rice recorded ‘The Rosary’ four times electrically and once acoustically accompanied by various pianists. The masters were shipped to Bridgeport in early November 1921, but none was approved for release, and the American Columbia electrical tests appear to have been quickly discontinued. Thus, the Guest- Merriman system was rejected once again, first by British Columbia, and this time by Columbia’s American branch. Confronted with these melancholy circumstances, by 1922, after over three years of experiments and four patents granted, Guest and Merriman were forced to abandon their plans seemingly for good, so their system was not further developed, at least not with the Anglo-Canadian partnership in the driving seat. Yet, a year later their system possibly resurfaced once again on the recording scene, also unsuccessfully, and this time once and for all: in 1923 American jazz orchestra bandleader Paul Whiteman invested heavily in the electrical recording process of an unnamed British inventor hoping to license it to Victor, but he was rebuffed by that company’s executives – might this British inventor perhaps have been Lionel Guest?

Fig 6. Central labels of Memorial Record,
containing the Westminster recordings, 1920

The commercial release of an electrical recording in late 1920, however limited in scope and quality, demonstrated that a major record company such as British Columbia was taking the matter of electrical recordings seriously, even though the technology obviously was not ready yet for full-scale commercialisation. As a matter of fact, British Columbia took advantage of its privileged position in the Guest-Merriman experiment, and in the following few years, after breaking up with the two inventors, it continued its researches with electrical recordings behind closed doors in secrecy with other researchers. While playback still remained on acoustic machines sound quality was secondary, even if it might have been recorded electrically, so it is believed that British Columbia actually produced several such records during 1922- 1925 – and so did Orlando Marsh on his Autograph Records, before everyone was eventually outplayed by Western Electric.

The dogma that electrical recordings began in 1925 still remains. If we consider the quality of sound recording that it brought along with it, then certainly it deserves the credit of being a milestone in the history of recorded sound, even revolutionary. Yet, no revolution appears ex nihilo, and there are always many important forerunners who pave the way towards it. In this respect, the achievement of two visionaries, Lionel Guest and Horace Merriman, is extraordinary, as their work helped usher in the electrical era of recording.

Their effort may not have produced the best sounding record the world has ever heard, but their sound recording concept was a historic push forward in the evolution of sound recording. The system which they developed had clearly been used as the blueprint in all subsequent similar developments, and it is in the core of the concept of electrical recording such as we know it. It marked a key milestone in recording history and the pursuit of hi-fidelity sound, and therefore Guest and Merriman deserve full credit for their contribution to the history of recorded sound, much more than a passing reference or a paragraph at best. It is for this reason that this paper sought to research their accomplishment, and albeit slightly belatedly to pay homage to their genius upon the centenary of electrical recording, which as we ought to realise was not a revolution that occurred overnight but a long process of evolution lasting for nearly a decade, in which the Guest-Merriman system occupies a prominent place.

Bibliography

  • Colin Brownlee, ‘Experiments in Electrical Recordings’, Archive of Recorded Church Music, https:// recordedchurchmusic.org/electrical-78-s-1926-1957.
  • Nick Dellow, ‘A Revolution in Sound: The Development of Electrical Recordings and the Introduction of the Western Electric System,’ CLPGS Lecture, 2023, 25pp.
  • The Funeral Service of a British Warrior on the Second Anniversary of the Signing of the Armistice, 11 November 1920, 12pp.
  • Lionel Guest and Horace Merriman, ‘Improved Means for Recording Sound’, British Patent Office #141,790, applied 18.01.1919, accepted 19.04.1920.
  • Lionel Guest and Horace Merriman, ‘Improvements in Sound-recording Apparatus’, British Patent Office #164,795, applied 10.02.1921, accepted 10.06.1921.
  • Lionel Guest et Horace Merriman, ‘Perfectionnements aux appareils d’enregistrement du son’, Office National de la Propriété Industrielle, Brevet d’Invention No.530.594, applied 07.02.1921, accepted 06.10.1921.
  • Lionel Guest und Horace Merriman, ‘Apparat zum Aufzeichnen von Tönen’, Reichspatentamt, Patentschrift Nr.357316, applied 28.01.1921, accepted 22.08.1922.
  • ‘“Long Distance” Gramophone Records in the Abbey’, The Illustrated London News, Vol. CLVII No.4261, Saturday 18 December 1920, 14.
  • Library and Archives Canada, RG138 - 80939, R1223-50-0-E: Electrical recording by Guest-Merriman process at Services of the Unknown Soldier, 11.11.1920.
  • ‘Horace Merriman: A Radio Pioneer’ (article from 1954) https://radiocom.ca/x_MerrimanHorace.htm
  • Monthly Notices of the Royal Astronomical Society, Vol.96, London, February 1936, 292-294.
  • Matthias Range, British Royal and State Funerals: Music and Ceremonial Since Elizabeth I, Woodbridge, Suffolk, Boydell Press, 2016, 289-291.
  • Allan R. Sutton, Recording the ‘Twenties: The Evolution of the American Recording Industry, 1920-29, Denver, CO, Mainspring Press, 2008, Ch.15: Dawn of the electrical era (1920-25).
  • Liz Tuddenham, ‘Electric Columbias 1922-1925, Where Are They?’, CLPGS For the Record 86, Summer 2023, 4-12.
  • Paul Whiteman, Music for the Millions, ed. David A. Stein, New York, Hermitage Press, 1948, 5-7.

Trayce Arssow, of the Yugoslav Discographic Society, holds an MA in History with expertise in Central, Eastern, and South-Eastern Europe. In the past several years they discovered scholarly interest in discography, history of the sound recording industry, record companies’ business history, history of technology and science, musicology and ethnomusicology. Driven by their multi-disciplinary interests, at present they are pursuing a book-length project on pioneering British-Canadian sound recording engineer and inventor Paul Voigt, entitled ‘Paul Voigt’s Quadrangular Record: Edison Bell’s Early Electrical Recordings in Great Britain and Eastern Europe, 1925-1933.’ The author wishes to acknowledge the support in their researches of the Richard Taylor Bursary by the City of London Phonograph and Gramophone Society (CLPGS).